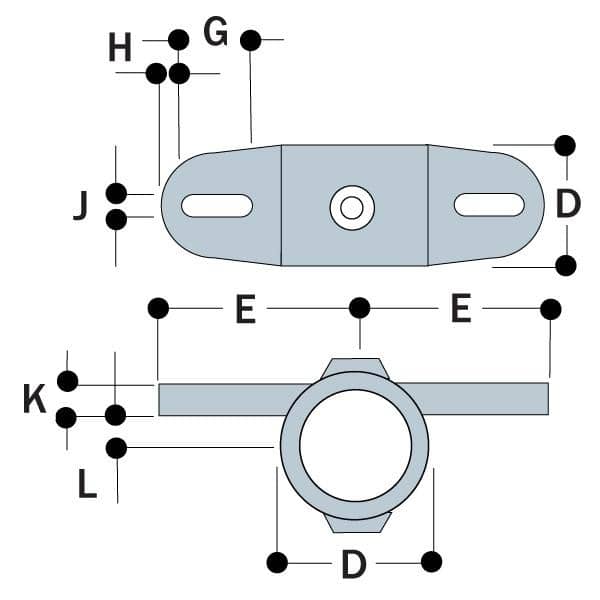
Type P51 - Modified M51-8 With Offset Slots

Developed for the secure fitting of various types of panels and flooring to pipe structures i.e. plywood, plastic sheeting, wood planking, etc. This fitting has two offset flanges to allow the flush attachment of panels to pipe.